工商營業執照代辦理優化案例
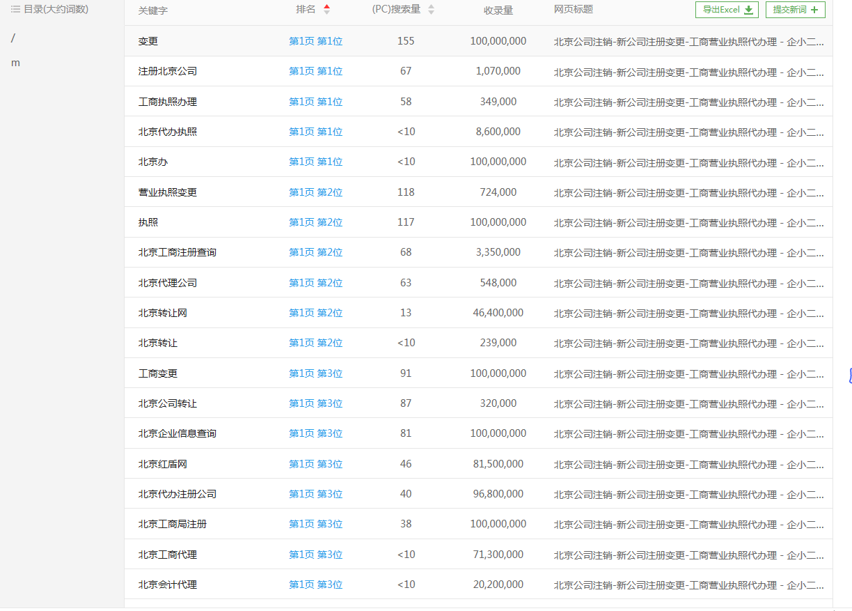
標題:北京公司注銷-新公司注冊變更-工商營業執照代辦理 - 企小二代理記賬
關鍵詞:北京代辦執照,北京代理記賬,北京公司變更,北京公司注冊,北京公司注銷,北京辦營業執照,北京工商注冊,北京注冊公司
描述:企小二(北京)企業服務有限公司專注北京周邊地區新公司注冊、代理記賬、公司注銷、公司變更、工商代辦、營業執照代辦理等服務,企小二作為政府授權,天使輪投資為企業提供高新企業認定、商標注冊等一站式企業服務!


工商營業執照代辦理優化案例
標題:北京公司注銷-新公司注冊變更-工商營業執照代辦理 - 企小二代理記賬
關鍵詞:北京代辦執照,北京代理記賬,北京公司變更,北京公司注冊,北京公司注銷,北京辦營業執照,北京工商注冊,北京注冊公司
描述:企小二(北京)企業服務有限公司專注北京周邊地區新公司注冊、代理記賬、公司注銷、公司變更、工商代辦、營業執照代辦理等服務,企小二作為政府授權,天使輪投資為企業提供高新企業認定、商標注冊等一站式企業服務!


網站SEO優化
| SEO操作 | SEO類型 |
|---|
| 網站定位 | |
| 明確網站定位、用戶定位,根據產品屬性結合用戶搜索習慣進行關鍵詞研究和建立。 | |
| 站內優化 | |
| 網站結構及HTML代碼優化、標題、描述、關鍵詞定義; | |
| 圖片ALT優化、快照縮略圖優化、H\STRONG\FONT\P\DIV\LI標簽優化 | |
| 鏈接A標簽設置、URL優化、死鏈、空鏈、#號鏈等處理 | |
| 文本匹配與關鍵字設置、導航優化、目錄優化、詳情頁優化 | |
| 站外優化 | |
| 百度收錄主動請求代碼、網站Sitemap.xml索引設置 | |
| 高質量外鏈和友情鏈接建設、URL引導收錄提交 | |
| 搜索體驗及縮略圖優化、網頁快照優化、權重評級提升 | |
| 文章發布技巧 | |
| 標題醒目、準確傳遞文章思想,標題具備高度的總結性和概括性 | |
| 關鍵字設置從文章標題里提煉,必修按詞組提煉有指數的關鍵詞 | |
| 文章摘匹配關鍵字并統攬全局,摘要必須準確表達文章的觀點 | |
| 文章配圖必須121x75的倍數,文章發布后必做URL收錄提交 | |
| SEO策略與技巧 | |
| 確保鏈接被收錄形成快照,確保網頁快照參與權重評級 | |
| 標題用部分匹配原則,描述用完整匹配原則 | |
| 排名靠前的內鏈引導靠后的,提高搜索展現率和有效點擊 | |
| 內容用完整匹配、關鍵字加粗,內鏈錨文本與導出鏈接相關 | |
| 鏈接層級扁平化、目錄簡短,合理使用網站導航和分類 | |
| 重要鏈接放到第一屏,文案內容匹配長尾詞而非主詞 | |
| SEO排名 | |
| 單個鍵詞是否進入搜索首頁或前三 | |
| 關鍵字必須在搜索引擎結果有排名 | |
| 網站不需要過多調整、局部優化 | |
| 排名速度快、一般2周左右 | |
| 按約定驗收客戶指定的關鍵詞 | |
| 整站優化 | |
| 整個網站從搜索引擎過來的流量 | |
| 只要網站收錄大于100條即可 | |
| 網站每級都要做站內調整優化 | |
| 整站優化初期相對較慢 | |
| 根據主詞持續擴展長尾詞 | |
SEO問題(FAQs)
深度傳播,精準獲客
云無限邀請您一起推進營銷精準化、簡單化!